Стріляльні ШЦ
Штангенциркулі стрільцеві
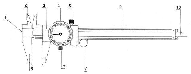
Стрільні штангенциркулі з круговою шкалою (тип ШЦС або ШЦК) — для зняття показань використовується стрілковий індикатор, вмонтований у рухому рамку штангенциркуля. Перетворення лінійного переміщення рамки в обертання стрілки індикатора відбувається за допомогою використання в конструкції реєчно-зубчастого передавання, яке, крім його прямого призначення, також робить всю конструкцію штангенциркуля жорсткішою.

1 — вимірювальна поверхня для ступеневого вимірювання
2 — вимірювальні губки для внутрішніх вимірювань
3 — рамка
4 — круглий обідок (безель)
5 - стопорний гвинт
6 — вимірювальні губки для зовнішніх вимірювань
7 - стопорний гвинт безеля (круглого обідка)
8 — колесо точного підведення рамки
9 — штанга
10 — лінійка глибиноміра
- 4 025 ₴В наявності
- 2 898 ₴Під замовлення
- 11 055 ₴Під замовлення
- 9 069 ₴Під замовлення




